【性能特点】
国家实用新型技术
美国先进水力模型
三元流理论/三维软件设计
制造/加工/铸造/蜗壳
国家实用新型技术
美国先进水力模型
三元流理论/三维软件设计
制造/加工/铸造/蜗壳
LK、LB型立式斜流泵适用于电厂、钢厂、自来水公司、污水处理厂、石油化工、矿山等工矿企业,以及市政给排水工程、农业灌溉、防洪排涝等工程。可以用来输送55℃以下的清水、雨水、铁皮坑水、污水以及海水等介质,流量范围600-70000m3/h,扬程范围4-70m。特殊设计的输送介质温度可达150℃。
LK、LB型高效节能立式斜流泵产品特点:
1.运行平稳,安全可靠,免抽真空启动,使用寿命周期长。
2.泵体积小,基础占地面积少,基础以下泵长度可以调整,适应性强。
3.流道简单可靠,节省泵房基建投资。
4.结构合理,装拆方便,维护检修容易简便。
5.泵效率高,降低运行成本。
6.标准化程度高,零部件通用互换性强。
LK、LB型高效节能立式斜流泵型号说明:
1800LK6.9—21.5Ⅰ
1800——泵吐出口径1800mm
L———立式斜流泵
K———转子可抽芯
B———转子不可抽芯
6.9———泵的设计流量6.9m3/s
21.5———泵的单级设计扬程21.5m
Ⅰ———泵设计顺序(第一次设计无标示)
900LB2.1—11.2Ⅰ
900——泵吐出口径900mm
L———立式斜流泵
B———转子不可抽芯
2.1———泵的设计流量2.1m3/s
11.2———泵的单级设计扬程11.2m
Ⅰ———泵设计顺序(第一次设计无标示)
LK、LB型高效节能立式斜流泵结构说明:
1、 LB/LK型泵为立式单级(多级)离心式或斜流式带导叶体结构。
2、泵的结构型式有泵吐出口在安装基础之上和之下(型式代号分别为S和X)、泵承受轴向力和电机承受轴向力(型式代号分别为T和D)、外接润滑水和泵自身润滑等形式。
3、泵安装型式推荐采用湿坑式安装,也可采用干坑式安装。湿坑式安装:泵下部浸没在吸水池中。干坑式安装:泵采用管道进水,泵吸入喇叭口与进水管道之间采用90°肘形进水弯管联接。
4、泵轴承为一般为耐磨橡胶,还可以采用赛龙、石墨、锡青铜及陶瓷等其它材料。
5、泵转子一般为不可抽形式(LB);泵轴向水推力及转子重量一般推荐由泵本体推力轴承承受,泵和电机之间采用弹性联接;泵吐出口位于安装面基础之上(型式代号为ST的结构形式)。如有要求,也可以由电机承受轴向水推力及转子重量;或其它结构形式的组合(型式代号为SD、XT、XD);用户如有要求,也可以设计成可抽式结构形式(LK),但型号相对目录上有变动。
6、泵本体承受轴向水推力及转子重量时,泵采用轴承装置,除具有透气、防水、测温(PT100)、加油、油位显示及冷却等功能外,还具有油位自动循环的淋浴润滑功能。可达到在环境温度为40℃时,轴承的指示温度不超过65℃,润滑效果好,轴承发热少,使用寿命长。
7、泵轴向密封采用填料密封。
8、主轴联接采用哈夫联轴器或套筒联轴器,可靠性高,结构简单,对接容易、拆装方便,定位准确可靠;
9、在泵安装基础上可以进行叶轮与喇叭口或叶轮室(转动部分与静止部分)之间间隙的调整,操作方便。
10、从吐出方向往泵看,电机接线盒与泵外接润滑水接管位于左侧。也可根据用户要求,布置在其它方位。
LK、LB型高效节能立式斜流泵零部件材质:

注:根据用户具体使用要求,可另选其它适合材质。
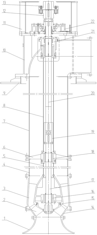
LK、LB型高效节能立式斜流泵结构简图:
LB型立式长轴泵结构简图(型式:ST)

1、 吸入喇叭口Suction bellmouth
2、 叶轮 Impeller
3、 导叶体diffuser
4、 下外接管External column(lower)
5、 下内接管Internal column(lower)
6、 轴承支架Bearing bracket
7、 上外接管External column(upper)
8、 上内接管Internal column(upper)
9、 安装垫板Mounting plate
10、 吐出弯管Discharge elbow
11、 电机支座Motor support
12、 泵联轴器Pump coupling
13、 电机联轴器Motor coupling
14、 叶轮室Shroud
15、 密封环Wearing ring
16、 下导轴承Guide bearing(lower)
17、 下主轴Main shaft(lower)
18、 中导轴承Guide bearing(mid.)
19、 套筒联轴器部件Sleevecoupling assembly
20、 上主轴Main shaft(upper)
21、 填料函部件Packing boxassembly
22、 推力轴承部件Thrust bearing assembly
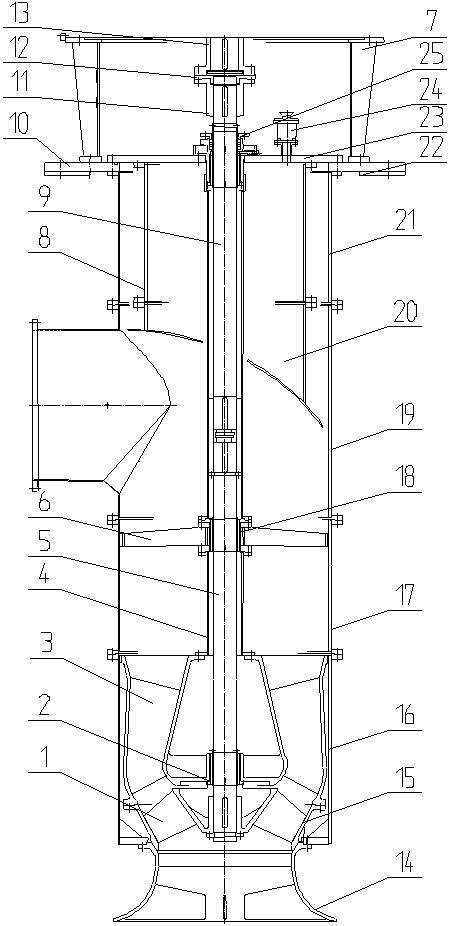
LK型立式长轴泵结构简图(型式:ST)

1、 入口滤网Filter at entrance
2、 叶轮Impeller
3、 导叶体Diffuser
4、 下外接管External column(lower)
5、 扩散管Increaser
6、 中外接管External column(mid.)
7、 轴承支架Bearing bracket
8、 安装垫板Mounting plate
9、 泵支撑板Pump baseplate
10、 吐出弯管Discharge elbow
11、 泵盖板Pump cover plate
12、 轴承座Bearing carrier
13、 电机支座Motor support
14、 泵联轴器Pump coupling
15、 电机联轴器Motor coupling
16、 吸入喇叭口Suction bellmouth
17、 叶轮室Shroud
18、 密封环Wearing ring
19、 下导轴承Guide bearing(lower)
20、 泵主轴Main shaft
21、 内接管Internal column
22、 上导轴承Guide bearing(upper)
23、 套筒联轴器部件Sleevecoupling assembly
24、 填料函部件Packingbox assembly
25、 排气阀Exhaust valve
26、推力轴承部件Thrust bearing assembly
LK型立式长轴泵结构简图(型式:XD)

1、 吸入喇叭口Suction bellmouth
2、 首级叶轮First stage impeller
3、 首级导叶体First stage diffuser
4、 次级叶轮Second stage impeller
5、 次级导叶体Second stage diffuser
6、 下导轴承Guide bearing(lower)
7、 下外接管External column(lower)
8、 中主轴Main shaft(mid.)
9、 中外接管External column(mid.)
10、 安装垫板Mounting plate
11、 吐出弯管Discharge elbow
12、 电机支架Motor Bracket
13、 泵联轴器Pump coupling
14、 电机联轴器Motor coupling
15、 推力轴承部件Thrust bearing assembly
16、 填料函部件Packing box assembly
17、 上主轴Main shaft(upper)
18、 套筒联轴器Sleeve coupling
19、 中导轴承Guide bearing(mid.)
20、 轴承支架Bearing bracket
21、 下主轴Main shaft(lower)
22、 密封环Wearing ring
|
|
|
|
|
|
参数 | 流量Q | 扬程H | 转速 | 配带电机 | 效率η | 必须汽蚀余量m | |
型号 | m3/h | m | r/min | 功率kw | 型号 | % | |
500LK-12 | 1840 | 13.5 | 970 | 110 | Y315L1-6V | 80.1 | 7.4 |
2200 | 12 | 85.4 | 7.9 | ||||
2650 | 9.4 | 83.5 | 8.8 | ||||
500LK-17 | 2200 | 18.7 | 970 | 160 | Y355M1-6V | 81 | 7.4 |
2500 | 17 | 85 | 7.5 | ||||
3000 | 12.9 | 86 | 9.1 | ||||
600LK-7 | 1908 | 9.4 | 590 | 90 | Y355M1-10V | 71 | 7 |
2950 | 7.2 | 87.5 | 7.4 | ||||
2996 | 3.8 | 74.6 | 8.9 | ||||
600LK-8 | 2450 | 10.4 | 590 | 90 | Y355M1-10V | 82.2 | 4.1 |
2990 | 8.3 | 87 | 4.4 | ||||
3420 | 6.7 | 85.7 | 4.6 | ||||
600LK-14.5 | 2050 | 17.9 | 970 | 132 | Y315L2-6V | 81.4 | 5.5 |
2520 | 14.4 | 86.7 | 5.8 | ||||
2840 | 11.6 | 85.1 | 6.4 | ||||
700LK-8 | 3920 | 9.3 | 730 | 132 | Y355M2-8V | 83.3 | 6 |
4400 | 8 | 86.5 | 6.8 | ||||
4860 | 6.4 | 84.4 | 7.8 | ||||
700LK-10 | 2400 | 12 | 730 | 110 | Y315L2-8V | 82.6 | 6.3 |
2800 | 10 | 85.4 | 6.9 | ||||
3360 | 6.6 | 83.1 | 7.4 | ||||
700LK-14 | 3240 | 16 | 730 | 200 | Y355L3-8V | 83 | 6.9 |
3850 | 14 | 88 | 7.5 | ||||
4210 | 12 | 86.5 | 7.8 | ||||
700LK-20 | 1620 | 23.1 | 970 | 160 | Y355M1-6V | 80.5 | 5 |
2020 | 20 | 84.2 | 5.8 | ||||
2270 | 18.3 | 80.7 | 6.7 | ||||
800LK-5.5 | 3810 | 7.4 | 590 | 110 | Y355M2-10V | 83.4 | 4.7 |
4500 | 5.7 | 86.1 | 5.7 | ||||
4900 | 4.3 | 82.1 | 6.3 | ||||
800LK-6.8 | 2160 | 9.1 | 730 | 75 | Y315M-8V | 77 | 6 |
2974 | 6.8 | 85 | 6.7 | ||||
3672 | 3.4 | 75 | 8.1 | ||||
800LK-7 | 5330 | 9.2 | 590 | 180 | JSL138-10 | 84.1 | 5.2 |
6340 | 7.1 | 86.5 | 6.4 | ||||
6840 | 5.4 | 82.5 | 6.9 | ||||
800LK-13.5 | 4540 | 15.6 | 590 | 315 | YLS4045-10 | 82.5 | 5.5 |
5400 | 13.4 | 87.5 | 5.7 | ||||
6300 | 10.2 | 86.2 | 6.3 | ||||
900LK-12.5 | 7920 | 15 | 590 | 450 | YLST500-10 | 85.5 | 4.7 |
9000 | 12.6 | 88 | 5 | ||||
10080 | 9.6 | 85 | 5.3 | ||||
900LK-17.5 | 4570 | 18.7 | 590 | 400 | YL400-10 | 80.1 | 4.5 |
5400 | 17.5 | 86.8 | 4.7 | ||||
6620 | 13.3 | 84.9 | 5.2 | ||||
1000LK-6.8 | 3800 | 8 | 730 | 110 | Y315L2-8V | 83.5 | 6 |
4248 | 6.8 | 86.5 | 6.5 | ||||
4700 | 5.2 | 84.5 | 8 | ||||
1000LK-10 | 9180 | 11.2 | 495 | 400 | YLS5004-12 | 85.5 | 7.9 |
10080 | 10 | 88.5 | 8.5 | ||||
11590 | 7 | 83.5 | 9 | ||||
1000LK-14 | 7340 | 16.8 | 495 | 450 | YLS5005-12 | 83.2 | 5.3 |
9070 | 14 | 88 | 5.6 | ||||
10980 | 11.5 | 87 | 5.9 | ||||
1000LK-16 | 9110 | 19.6 | 495 | 700 | YL700-12/990 | 83.8 | 5.8 |
11160 | 16 | 88.2 | 6.4 | ||||
12640 | 12.5 | 87.8 | 6.9 | ||||
1000LK-20 | 4460 | 23.1 | 590 | 450 | YLSY500-10 | 82.7 | 4.9 |
5690 | 20 | 86.5 | 5.8 | ||||
6190 | 18.3 | 85 | 6.5 | ||||
1000LK-23 | 6950 | 24.3 | 495 | 700 | YL700-12/990 | 84 | 5.2 |
7810 | 23.3 | 87.6 | 5.7 | ||||
10150 | 19.7 | 87 | 7.3 | ||||
1200LK-16 (0°) | 9000 | 18.5 | 495 | 710 | YLBT630-12 | 80 | 9.6 |
10692 | 16 | 87 | 10.2 | ||||
12240 | 12.5 | 68 | 11 | ||||
1200LKB-19 (+2°) | 10200 | 20.3 | 495 | 800 | YLB7630-12 | 82 | 7.2 |
11700 | 18.5 | 87 | 8 | ||||
13500 | 14.7 | 85 | 8.6 | ||||
1200LKB-20 (0°) | 8450 | 23.4 | 590 | 710 | YKSL560-10 | 82 | 8 |
9360 | 20 | 87 | 8.7 | ||||
11700 | 14.8 | 85 | 9.5 | ||||
1200LKB-20.8 (+1°) | 8800 | 23.7 | 590 | 800 | YKS 560-10 | 83 | 8 |
9900 | 20.8 | 87 | 8.7 | ||||
12300 | 15.1 | 85 | 9.5 | ||||
1200LKB-22 (+2°) | 9430 | 24 | 590 | 900 | YKSL560-10 | 83 | 8.2 |
10650 | 21.8 | 87 | 8.9 | ||||
12300 | 17.4 | 85 | 9.5 | ||||
1200LKB-23.5 (+3°) | 9140 | 25.9 | 590 | 1000 | YLT6301-10 | 83 | 8.1 |
10330 | 23.5 | 87 | 8.8 | ||||
12670 | 18 | 85 | 9.7 | ||||
1300LKB-16.5 | 11800 | 17.8 | 360 | 900 | 柴油机通过减速齿轮箱驱动 | 83 | 6.5 |
14040 | 16.5 | 87 | 7.1 | ||||
18320 | 11.9 | 85 | 8.8 | ||||
1400LKB-21.5 | 12020 | 23.3 | 590 | 1120 | YLKS630-10 | 83 | 10 |
13680 | 21.5 | 88 | 11.2 | ||||
16840 | 15 | 84 | 13 | ||||
1500LKB-11.5 | 16630 | 13.6 | 340 | 900 | 柴油机通过减速齿轮箱驱动 | 83 | 7.6 |
18940 | 11.5 | 86 | 8.2 | ||||
21810 | 8 | 83 | 9.6 | ||||
1500LKB-13 | 17640 | 15.2 | 360 | 1000 | 柴油机通过减速齿轮箱驱动 | 84 | 7 |
20050 | 13 | 87 | 8 | ||||
23110 | 9 | 84 | 9.6 | ||||
1500LKB-17 | 15480 | 19 | 360 | 1250 | 柴油机通过减速齿轮箱驱动 | 84 | 8.1 |
18000 | 17 | 87 | 8.7 | ||||
21600 | 13.3 | 84 | 9.5 | ||||
1600LKB-9.5 (+2°) | 14400 | 11.3 | 370 | 630 | YL630-16/1730 | 84 | 7.6 |
16920 | 9.5 | 87 | 8.4 | ||||
18720 | 7 | 82 | 10 | ||||
1600LKB-20 (0°) | 14150 | 25.2 | 495 | 1250 | YLSK1250-12/1430 | 83 | 7.8 |
17240 | 20.3 | 88 | 9.3 | ||||
19440 | 15.5 | 84 | 11.5 | ||||
1600LKB-23 (+2°) | 15500 | 26.3 | 495 | 1600 | YKKSL1600-12/1730 | 85.7 | 8 |
18000 | 23 | 88 | 9.5 | ||||
19500 | 19.8 | 85.7 | 11.5 | ||||
1600LK23 | 13900 | 23 | 495 | 1250 | YL1250-12/1430 | 84 | 7.9 |
15700 | 19.9 | 86 | 9.4 | ||||
17000 | 17.5 | 83 | 10.8 | ||||
1600LKB-25 | 16560 | 30 | 495 | 1800 | YL1800-12/1730 | 84 | 9 |
19330 | 26.5 | 89 | 10.8 | ||||
21600 | 22.3 | 84.5 | 12.5 | ||||
1600LK-42 | 12640 | 45.8 | 590 | 2500 | YL2500-10/2150 | 83.8 | 8.1 |
15300 | 41.9 | 86.7 | 9 | ||||
18470 | 33.7 | 80.6 | 11.9 | ||||
1800LK-16 | 17170 | 20.3 | 370 | 1600 | YL1600-16/2150 | 84.8 | 7.2 |
21600 | 16 | 88.9 | 7.6 | ||||
23800 | 13.2 | 87.8 | 8.3 | ||||
1800LK-17 | 17060 | 20.3 | 370 | 1250 | YL1250-16/2150 | 84.6 | 7.2 |
20340 | 17.3 | 89.1 | 7.4 | ||||
23650 | 13.2 | 87.8 | 8.3 | ||||
1800LK-21 | 19910 | 22.5 | 370 | 1600 | YL1600-16/2150 | 84.8 | 8 |
21670 | 21 | 87.8 | 8.1 | ||||
27650 | 14.7 | 87.2 | 9.2 | ||||
1800LK-22 | 25310 | 26.4 | 370 | 2500 | YL2500-16/2150 | 85.2 | 9.4 |
30600 | 22 | 89.3 | 9.6 | ||||
35140 | 17.2 | 88.2 | 10.8 | ||||
1800LK-24 | 20410 | 27.4 | 425 | 2000 | YL2000-14/2150 | 84.8 | 9.6 |
23760 | 24 | 88.9 | 10 | ||||
28330 | 17.8 | 87.8 | 11.2 | ||||
1800LK-26 | 19150 | 32.3 | 495 | 2500 | YL2500-12/2150 | 84 | 11.5 |
23760 | 26 | 89 | 11.9 | ||||
26570 | 21 | 87.7 | 13.2 | ||||
1800LK-28.5 | 17570 | 30.9 | 370 | 2500 | YL2500-16/2150 | 84.7 | 6.7 |
21600 | 28.5 | 87.5 | 7 | ||||
25760 | 22.7 | 81.6 | 9 | ||||
1800LK-34 | 23400 | 37.5 | 370 | 3600 | YL3600-16/2150 | 85 | 8 |
28800 | 33.8 | 88 | 8.6 | ||||
34200 | 27.4 | 82 | 11 | ||||
1800LK-35 | 24120 | 37.9 | 370 | 4000 | YL4000-16/2105 | 85 | 8 |
29880 | 35 | 87 | 9 | ||||
35240 | 27.9 | 82 | 10.6 | ||||
2000LK-17 | 30350 | 18.1 | 370 | 2000 | YL2000-16/2150 | 84.7 | 9.8 |
34200 | 16.6 | 89.2 | 10.7 | ||||
38740 | 12.5 | 87.4 | 11.5 | ||||
2000LK-31.5 | 20630 | 34.2 | 370 | 3200 | YL3200-16/2150 | 84.9 | 7.2 |
26122 | 31.5 | 87 | 8.3 | ||||
30240 | 25.2 | 81.9 | 9.8 | ||||
2200LK-18 | 31140 | 21 | 370 | 2500 | YL2500-16/2150 | 85 | 9.2 |
36000 | 18 | 88 | 10 | ||||
40500 | 13.8 | 85 | 11.6 | ||||
2000LK-21.5 | 47520 | 22.9 | 245 | 4000 | YL4000-24/2150 | 86.2 | 8 |
52200 | 21.3 | 89 | 8.3 | ||||
63300 | 17.5 | 89.8 | 8.8 | ||||
2400LK-29 | 53420 | 29.8 | 245 | 6000 | YL6000-24/2150 | 82 | 7.8 |
60120 | 28.8 | 87 | 8.5 | ||||
71240 | 24.4 | 88 | 10.2 | ||||
2600LK-28 | 46800 | 30 | 295 | 4800 | YL4800-20/2150 | 85.6 | 7.7 |
52200 | 27.5 | 89 | 8.2 | ||||
59040 | 23.1 | 85 | 9.4 | ||||

站内查找
版权所有:长沙工业泵总厂长沙水泵厂湖南中开泵业(长一制泵) 专注工业流体输送30年
地址:长沙市岳麓区望月湖街道江岸锦城小区7栋1楼1499室邮箱:516558583@qq.com